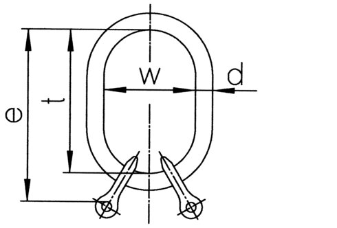
Nostorengas omegaliittimellä, 2-haarainen, luokka 12, KWB

Ketju kiinnitetään suoraan nostorenkaaseen liitettyyn omegaliittimeen.

Nostorenkaan tekniset tiedot:
Koekuorma:
2,5 x WLL.

Näytä lisää

Tuotekoodi:

Ketju kiinnitetään suoraan nostorenkaaseen liitettyyn omegaliittimeen.

Nostorenkaan tekniset tiedot:
Koekuorma:
2,5 x WLL.

  • Materiaali: Lämpökäsitelty teräs luokka 12. Lämpökäsittely kielletty.
  • Merkintä: Valmistajan tuotekoodi ja luokka.
  • Lämpötila-alue: -40 - (+)200 ºC.
  • Pintakäsittely: Maalattu, violetti.
  • Varmuuskerroin: 4:1
  • Luokka: 12